Spacer Image V246110200

Duckbill Valves for One-Way Flow Solutions

Product Number: V246110200

$2,325.00 per Lot of 500

Select Lot Quantity

Duckbill valves are single-component, in-line, one-way check valves that are self-sealing. They are ideal for applications requiring immediate forward flow with a straight-through flow path. Assembly is simple—just drop the valve into a bore and secure it by clamping the flange.

Materials of Construction

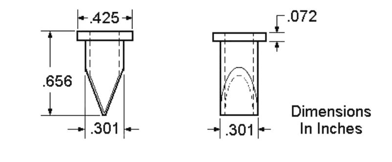
  • Part Number: V246110200
  • Product Group: Duckbill
  • Material Number: VL1001M12
  • Material Type: Silicone
  • Material Color: Grey
  • Media Resistance - Water: Excellent
  • Media Resistance - Fuel: Poor
  • Media Resistance - Oil: Poor
  • Tg (DSC): -60°C
  • Tmax (Continuous): 200°C

Design Characteristics

Function

This is a general purpose, normally open check valve with very high flow (low pressure drop) for its size. Typical uses are in medical equipment.

Working Principle

Duckbill valves achieve backflow sealing through pressure-induced contact forces along the two side planes. To create an effective seal, some reverse pressure must be applied. In the forward flow direction, there is no distinct opening pressure; however, our laboratory uses a standard threshold of 1 cc/min for measurement purposes. Forward flow depends on the pressure differential across the valve's flow path and the degree of opening in the lip zone.

Mounting Instructions

A 10-15% axial compression of the flange is necessary with OD clearance to permit radial deformation. For proper function there must be a small clearance around the barrel (cylindrical portion) of the valve.

Photo/Rendering

Technical Drawing

Performance Characteristics

Opening Pressure

Diagram
Definition

Opening Pressure is the differential pressure required for the valve to achieve the specified flow threshold. As the flow threshold increases, the Opening Pressure will also increase. Conversely, lowering the flow threshold results in a decrease in Opening Pressure. Water test data is available upon request.

Reverse Leakage

Diagram
Definition

Leakage, or reverse flow, is measured by gradually increasing the backpressure across the valve, starting from zero. Please note that the leakage graph uses a different scale compared to the flow graphs. Water test data is available upon request.

Forward Flow

Diagram
Definition

Flow and differential pressure are measured simultaneously as the inlet pressure increases from zero. Once the maximum flow is reached, the pressure is gradually reduced back to zero, with flow and differential pressure measured throughout the process. The chart displays the minimum and maximum flow values recorded during tests of multiple samples at each pressure level. Water test data is available upon request.

Download Our Product Information Sheet

Vernay Product Information Sheet

View Data Sheet

Vernay Quality Policy

Vernay is committed to the highest level of quality and service to our customers. We focus on innovation and continuous improvement in all areas of our business and accomplish these goals through our quality management system. Maintain our existing quality certifications (ISO/IATF-16949, ISO 9001, and ISO 13485).